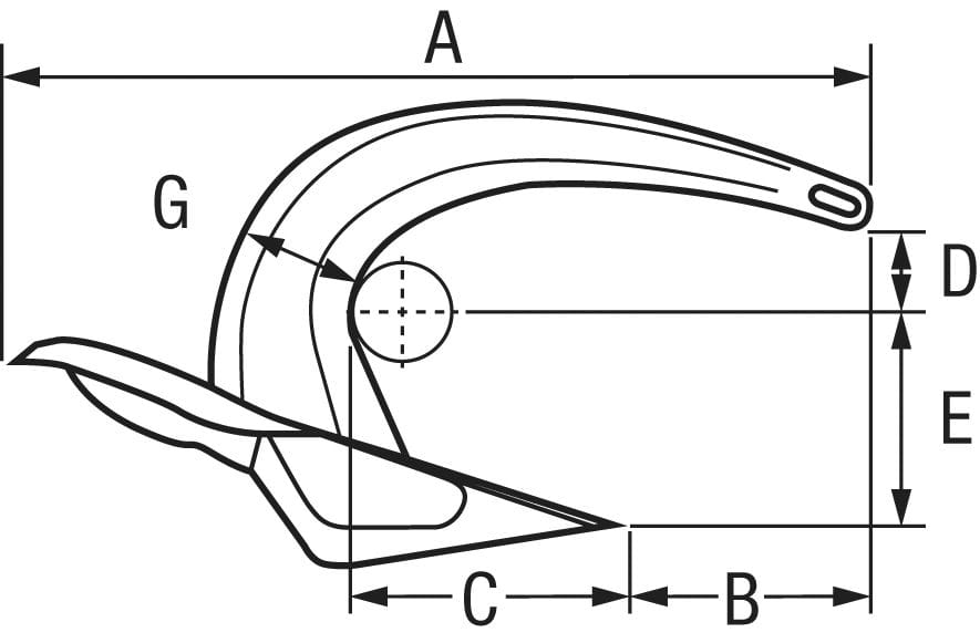
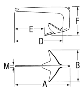
Anker & Zubehör
Ein stets einsatzbereiter Anker ist wichtiger Bestandteil guter Seemannschaft, erhöht er Ihre Sicherheit doch immens! Toplicht hat deshalb für jeden Ankergrund und Schiffstyp den passenden Haken. Welcher der richtige für Ihr Schiff ist, erfahren Sie hier. Gewichtsanker wie schwere Stockanker oder Hall-Anker sind bewährte, klassische Anker für Traditionsschiffe. Modernere Konstruktionen leichterer Bauart, wie Klipp-, BRIC oder FAST-Anker, Pflugscharanker, Bügelanker, ROCNA-, VULCAN-, ULTRA- oder M-Anker sind auf vielen Segel- und Motoryachten gebräuchlich. ...




























































