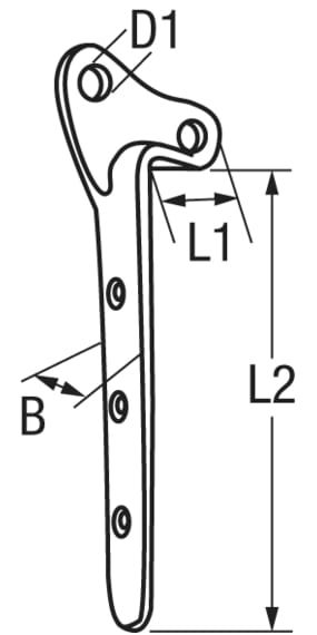
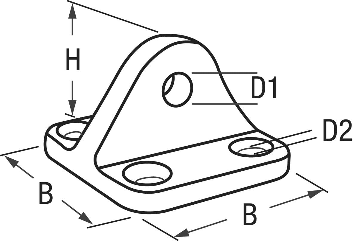
Püttinge, in früheren Zeiten auch Rüsteisen genannt, übertragen die auf den Mast wirkenden Kräfte auf den Schiffsrumpf. Sie haben ein Auge, an dem Wanten und Stagen befestigt werden. Zur genaueren Unterscheidung spricht man in der Segelschifffahrt von Wantenpütting, Vorstagspütting, Backstagspütting oder noch spezieller z.B. von einem Seitenpütting für Klüverbaumstagen. Püttingbeschläge sind entweder an der Außenhaut des Schiffs oder an einer verstärkten, krafteinleitenden Stelle an Deck angebracht. Mit Stevenbeschlägen sind zumeist die Beschläge gemeint, die fest am Vorsteven eines Schiffes befestigt sind oder dort Kräfte einleiten. Auch ein Bugrollenbeschlag mit Kettenrolle für die Ankerkette zählt dazu. Unsere entsprechenden, formschönen Beschläge für traditionelle Schiffe und klassische Yachten und Jollen werden hauptsächlich aus Gussbronze hergestellt.
- Rigg & Segel
- Tauwerk & Bändsel
- Ankern & Festmachen
-
Rumpf & Deck
- Winschen & Fallwinden
- Klemmen & Fallenstopper
- Schienen & Rutscher
-
Püttinge & Stevenbeschläge
- Decksaugen & Leitösen
- Haken & Ösen
- Handlauf & Reling
- Flaggen & Flaggstöcke
- Fenster, Bullaugen & Luken
- Windhutzen & Belüftung
- Steuerrad, Pinne & Ruder
- Spezielles für das Motorboot
- Jolle & Ruderboot
- Buchstabe & Schild
- Positionslichter
- Außenbeleuchtung & Decksbeleuchtung
- Kajüte & Komfort
- Farben & Bootsbau
- Elektrik & Motor
- Pumpen & Sanitär
- Sicherheit & Funk
- Navigation & Lektüre
- Berufsschifffahrt
Püttinge & Stevenbeschläge
