- Rigg & Segel
- Tauwerk & Bändsel
- Ankern & Festmachen
- Rumpf & Deck
- Kajüte & Komfort
- Farben & Bootsbau
- Elektrik & Motor
- Pumpen & Sanitär
- Sicherheit & Funk
- Navigation & Lektüre
- Berufsschifffahrt
















ab 79,90 €*
79,90 €*
Preise inkl. MwSt. zzgl. Versandkosten
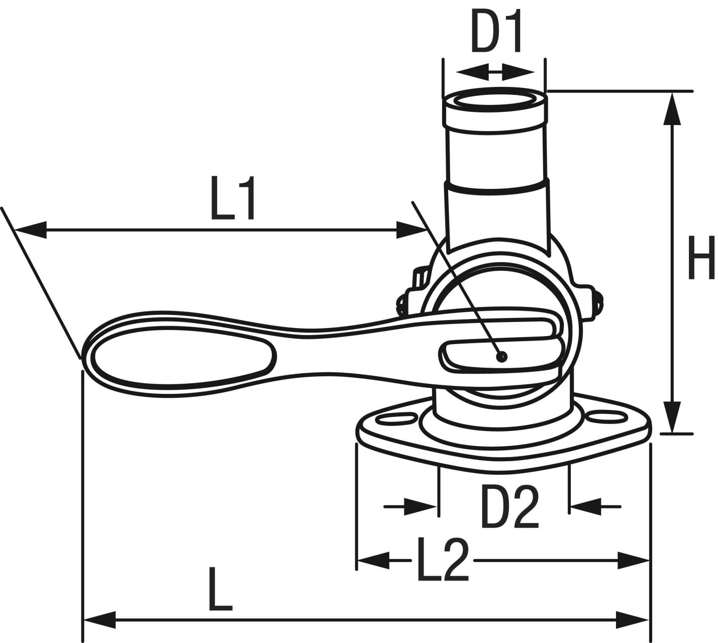
Hochwertiges Seeventil mit konischem Verschlussstopfen, auch bezeichnet als Konus-Seeventil. Mit bordseitigem Schlauchanschluss.
Gefertigt aus Bronze/Rotguss (seewasserbeständigen Bronzelegierung CB491K - CuSn5Zn5Pb5-B). Im klassischen Yachtsport jahrzehntelang bewährt.
Für Wartungs- und Schmierarbeiten ist das Seeventil einfach zerleg- und wiedermontierbar, zwei Schrauben am Korpus erlauben das Entwässern, um das Ventil gegen Frost zu sichern.
Das Ventil des amerikanischen Herstellers SPARTAN wird mit zwei Bolzen direkt bzw. über eine Verstärkungsplatte mit dem Rumpf verbolzt. Eine Standard- Bronze/Rotguss- Borddurchführung (Zusatzartikel - nicht im Lieferumfang enthalten, Art. 1382-720, 1382-723) wird dann von außen in das Innengewinde des Ventils eingeschraubt und gewährleistet sicheren und festen Sitz.
Die Unterseite des Ventils ist plan geschliffen, eingegossene Sicken (Rinnen) sorgen für gute Haftung der Dichtungsmasse und für perfekte Dichtigkeit.
Der Bronzehebel kann um 180° bewegt werden, die Anschläge geben Sicherheit, dass das Ventil richtig verschlossen wurde. Der Verschlusszustand ist sofort am Hebel erkennbar.
Zulassung: UL-Marine-Listing (USA).
Die Passenden Bordurchführungen müssen separat bestellt werden und sind als Montagezubehör dringend empfohlen.
Art-Nr. | Beschreibung | für Schlauch (mm) | D1 (mm) | D2 (Zoll) | L (mm) | L1 (mm) | L2 (mm) | H (mm) | Gewicht (g) | Preis (Stück) | Lieferzeit | Merken | Kaufen |
---|
Hochwertiges Seeventil mit konischem Verschlussstopfen, auch bezeichnet als Konus-Seeventil. Mit bordseitigem Schlauchanschluss.
Gefertigt aus Bronze/Rotguss (seewasserbeständigen Bronzelegierung CB491K - CuSn5Zn5Pb5-B). Im klassischen Yachtsport jahrzehntelang bewährt.
Für Wartungs- und Schmierarbeiten ist das Seeventil einfach zerleg- und wiedermontierbar, zwei Schrauben am Korpus erlauben das Entwässern, um das Ventil gegen Frost zu sichern.
Das Ventil des amerikanischen Herstellers SPARTAN wird mit zwei Bolzen direkt bzw. über eine Verstärkungsplatte mit dem Rumpf verbolzt. Eine Standard- Bronze/Rotguss- Borddurchführung (Zusatzartikel - nicht im Lieferumfang enthalten, Art. 1382-720, 1382-723) wird dann von außen in das Innengewinde des Ventils eingeschraubt und gewährleistet sicheren und festen Sitz.
Die Unterseite des Ventils ist plan geschliffen, eingegossene Sicken (Rinnen) sorgen für gute Haftung der Dichtungsmasse und für perfekte Dichtigkeit.
Der Bronzehebel kann um 180° bewegt werden, die Anschläge geben Sicherheit, dass das Ventil richtig verschlossen wurde. Der Verschlusszustand ist sofort am Hebel erkennbar.
Zulassung: UL-Marine-Listing (USA).
Die Passenden Bordurchführungen müssen separat bestellt werden und sind als Montagezubehör dringend empfohlen.
Beschreibung
Hochwertiges Seeventil mit konischem Verschlussstopfen, auch bezeichnet als Konus-Seeventil. Mit bordseitigem Schlauchanschluss.
Gefertigt aus Bronze/Rotguss (seewasserbeständigen Bronzelegierung CB491K - CuSn5Zn5Pb5-B). Im klassischen Yachtsport jahrzehntelang bewährt.
Für Wartungs- und Schmierarbeiten ist das Seeventil einfach zerleg- und wiedermontierbar, zwei Schrauben am Korpus erlauben das Entwässern, um das Ventil gegen Frost zu sichern.
Das Ventil des amerikanischen Herstellers SPARTAN wird mit zwei Bolzen direkt bzw. über eine Verstärkungsplatte mit dem Rumpf verbolzt. Eine Standard- Bronze/Rotguss- Borddurchführung (Zusatzartikel - nicht im Lieferumfang enthalten, Art. 1382-720, 1382-723) wird dann von außen in das Innengewinde des Ventils eingeschraubt und gewährleistet sicheren und festen Sitz.
Die Unterseite des Ventils ist plan geschliffen, eingegossene Sicken (Rinnen) sorgen für gute Haftung der Dichtungsmasse und für perfekte Dichtigkeit.
Der Bronzehebel kann um 180° bewegt werden, die Anschläge geben Sicherheit, dass das Ventil richtig verschlossen wurde. Der Verschlusszustand ist sofort am Hebel erkennbar.
Zulassung: UL-Marine-Listing (USA).
Die Passenden Bordurchführungen müssen separat bestellt werden und sind als Montagezubehör dringend empfohlen.
Zubehör & Ersatzteile
Ähnliche Artikel
Weitere Produkte aus der Kategorie Kugelhähne & Ventile aus Bronze / Rotguss
Zuletzt angesehene Artikel